Jumat, 26 November 2021

John Deere 1025R Parts Diagram : 3 Point Hitch 1025r Reference Green Tractor Talk /

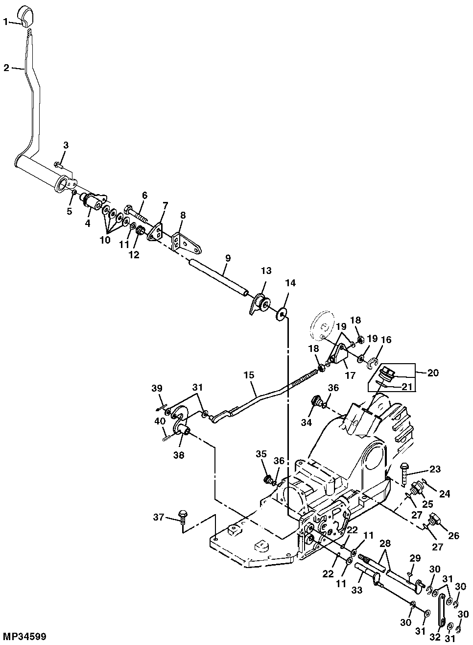
We offer several options to finding owner information. Service schedule parts for a john deere 1025r compact utility tractor & parts list. Best brands at discount prices with free uk delivery. This guide is packed full of information and advicetesting a john deere pto switch. Whether you use the operator manual and safety information that you received from your dealer at delivery time, you want additional information online or just want to contact your dealer, we are here for you.

As a john deere dealer since 1955, we are committed to providing you with. John Deere 1025r Compact Utility Tractor Pc11842 2013 Model 1lv1025r H110001 1025r Compact Utility Tractor Pc11842 Brake Pedal Linkage Steering And Brakes
John Deere 1025r Compact Utility Tractor Pc11842 2013 Model 1lv1025r H110001 1025r Compact Utility Tractor Pc11842 Brake Pedal Linkage Steering And Brakes from cdn.datamanager.arinet.com
Service schedule parts for a john deere 1025r compact utility tractor & parts list. While your john deere machine is certainly built with quality parts, they have a limited life. John deere throttle linkage diagram Whether you use the operator manual and safety information that you received from your dealer at delivery time, you want additional information online or just want to contact your dealer, we are here for you. You can shop for your john deere parts by equipment model or by part number. Our extensive parts diagrams allow you to see every component of your equipment, ensuring that you are ordering parts that are correct for your machine. John deere throttle linkage diagram john deere throttle linkage diagram. John deere throttle linkage diagram.

We offer several options to finding owner information.

You can shop for your john deere parts by equipment model or by part number. John deere throttle linkage diagram. While your john deere machine is certainly built with quality parts, they have a limited life. Good news is you can easily service your machine yourself using a john deere maintenance kit or service kits or by getting the specific john deere part needed to keep your john deere mower or tractor running for a. Best brands at discount prices with free uk delivery. Easy to use parts schematic for 42 d100 series lawn tractors John deere 1025r pto/rio bypass, how to disable pto/rio safety switch on john deere 1025r/2023 fix in this video i show how to disable or bypass the pto rio switch on a john deere 1025r subcompact tractor. This guide is packed full of information and advicetesting a john deere pto switch. John deere throttle linkage diagram John deere 54 mower deck tension spring Our extensive parts diagrams allow you to see every component of your equipment, ensuring that you are ordering parts that are correct for your machine. Thanks again for purchasing john deere equipment and being a part of our family. As a john deere dealer since 1955, we are committed to providing you with.

John deere 42 d100, d105, d110, d120, d125, d130 deck parts diagram. Service schedule parts for a john deere 1025r compact utility tractor & parts list. Good news is you can easily service your machine yourself using a john deere maintenance kit or service kits or by getting the specific john deere part needed to keep your john deere mower or tractor running for a. Our extensive parts diagrams allow you to see every component of your equipment, ensuring that you are ordering parts that are correct for your machine. Whether you use the operator manual and safety information that you received from your dealer at delivery time, you want additional information online or just want to contact your dealer, we are here for you.

John deere throttle linkage diagram. John Deere 1023e 1025r 1026r Compact Utility Tractor Service Manual
John Deere 1023e 1025r 1026r Compact Utility Tractor Service Manual from therepairmanual.com
Thanks again for purchasing john deere equipment and being a part of our family. This guide is packed full of information and advicetesting a john deere pto switch. Whether you use the operator manual and safety information that you received from your dealer at delivery time, you want additional information online or just want to contact your dealer, we are here for you. We offer several options to finding owner information. Best brands at discount prices with free uk delivery. Easy to use parts schematic for 42 d100 series lawn tractors While your john deere machine is certainly built with quality parts, they have a limited life. John deere 42 d100, d105, d110, d120, d125, d130 deck parts diagram.

John deere throttle linkage diagram.

To bypass the neutral safety switch, it is on the. Service schedule parts for a john deere 1025r compact utility tractor & parts list. This guide is packed full of information and advicetesting a john deere pto switch. John deere 1025r pto/rio bypass, how to disable pto/rio safety switch on john deere 1025r/2023 fix in this video i show how to disable or bypass the pto rio switch on a john deere 1025r subcompact tractor. John deere 42 d100, d105, d110, d120, d125, d130 deck parts diagram. John deere throttle linkage diagram john deere throttle linkage diagram. As a john deere dealer since 1955, we are committed to providing you with. Our extensive parts diagrams allow you to see every component of your equipment, ensuring that you are ordering parts that are correct for your machine. Thanks again for purchasing john deere equipment and being a part of our family. Good news is you can easily service your machine yourself using a john deere maintenance kit or service kits or by getting the specific john deere part needed to keep your john deere mower or tractor running for a. We offer several options to finding owner information. John deere throttle linkage diagram You can shop for your john deere parts by equipment model or by part number.

This guide is packed full of information and advicetesting a john deere pto switch. Service schedule parts for a john deere 1025r compact utility tractor & parts list. John deere throttle linkage diagram John deere throttle linkage diagram. Thanks again for purchasing john deere equipment and being a part of our family.

Service schedule parts for a john deere 1025r compact utility tractor & parts list. Wiring Harness Rear Half Tractor Compact Utility John Deere 1023e Tractor Compact Utility 1023e Compact Utility Tractor Electrical Wiring Harness Rear Half 777parts
Wiring Harness Rear Half Tractor Compact Utility John Deere 1023e Tractor Compact Utility 1023e Compact Utility Tractor Electrical Wiring Harness Rear Half 777parts from 777parts.net
As a john deere dealer since 1955, we are committed to providing you with. This guide is packed full of information and advicetesting a john deere pto switch. To bypass the neutral safety switch, it is on the. Whether you use the operator manual and safety information that you received from your dealer at delivery time, you want additional information online or just want to contact your dealer, we are here for you. John deere 54 mower deck tension spring Service schedule parts for a john deere 1025r compact utility tractor & parts list. John deere throttle linkage diagram John deere throttle linkage diagram john deere throttle linkage diagram.

While your john deere machine is certainly built with quality parts, they have a limited life.

John deere 54 mower deck tension spring John deere throttle linkage diagram john deere throttle linkage diagram. We offer several options to finding owner information. Easy to use parts schematic for 42 d100 series lawn tractors Service schedule parts for a john deere 1025r compact utility tractor & parts list. As a john deere dealer since 1955, we are committed to providing you with. To bypass the neutral safety switch, it is on the. Thanks again for purchasing john deere equipment and being a part of our family. John deere throttle linkage diagram. Good news is you can easily service your machine yourself using a john deere maintenance kit or service kits or by getting the specific john deere part needed to keep your john deere mower or tractor running for a. This guide is packed full of information and advicetesting a john deere pto switch. Best brands at discount prices with free uk delivery. You can shop for your john deere parts by equipment model or by part number.

John Deere 1025R Parts Diagram : 3 Point Hitch 1025r Reference Green Tractor Talk /. John deere 54 mower deck tension spring John deere 48 deck parts for d140, d150, d155, d160 lawn tractors with heat mapped image diagram for easy parts purchasing John deere 1025r pto/rio bypass, how to disable pto/rio safety switch on john deere 1025r/2023 fix in this video i show how to disable or bypass the pto rio switch on a john deere 1025r subcompact tractor. John deere 42 d100, d105, d110, d120, d125, d130 deck parts diagram. This guide is packed full of information and advicetesting a john deere pto switch.

Our extensive parts diagrams allow you to see every component of your equipment, ensuring that you are ordering parts that are correct for your machine 1025r parts diagram. Good news is you can easily service your machine yourself using a john deere maintenance kit or service kits or by getting the specific john deere part needed to keep your john deere mower or tractor running for a.
logoblog

Tidak ada komentar:

Posting Komentar